سلسلة الطرازات Serie 8 wall-mounted cooker hood 90 cm , أسودDWK91LT65
DWK91LT65
1 / 0













سلسلة الطرازات Serie 8 wall-mounted cooker hood 90 cm , أسودDWK91LT65
DWK91LT65
سلسلة الطرازات Serie 8 wall-mounted cooker hood 90 cm , أسودDWK91LT65
DWK91LT65
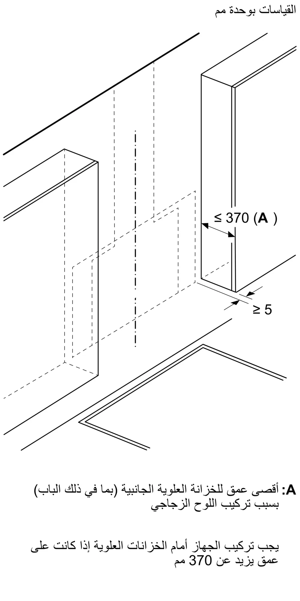
نظرة عامة تقنية
اللون
أسود
مادة الهيكل
زجاج, مطلي
التصميم
مدمج
عدد إعدادات السرعة
3 مراحل + 2 مكثف
أقصى قوة شفط للهواء الناتج
441
وضع تعزيز شفط الهواء
1007
قوة الصوت عند أقصى سرعة (2010/30/EC)
51
العرض
90