سلسلة الطرازات Serie 2 شفاط حائطي 60 cm , أسودDWK64PJ60T
DWK64PJ60T
1 / 0









سلسلة الطرازات Serie 2 شفاط حائطي 60 cm , أسودDWK64PJ60T
DWK64PJ60T
١٧٬٩٩٩٫٠٠ ج.م.
ضريبة القيمة المضافة
غير متاح
سلسلة الطرازات Serie 2 شفاط حائطي 60 cm , أسودDWK64PJ60T
DWK64PJ60T
١٧٬٩٩٩٫٠٠ ج.م.
ضريبة القيمة المضافة
غير متاح
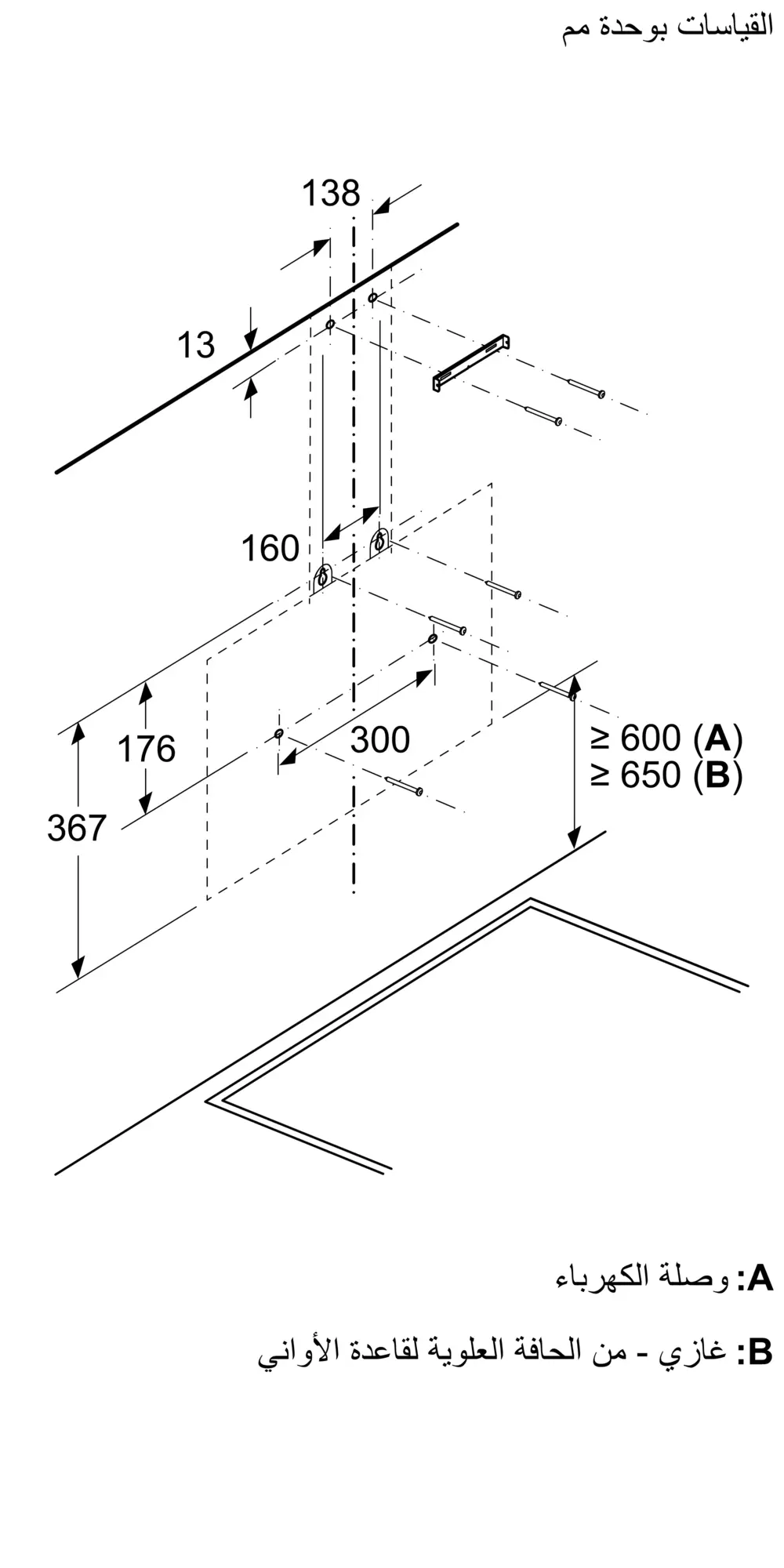
استعراض عام تقني
قوة الصوت عند السرعة القصوى (2010/30/EC)
69
الحد الأقصى لاستخراج الهواء
400
shirts/blouses
أسود
المواد المصنوع منها جسم الجهاز
الزجاج
مُدمج/ قائم بذاته
مدمج
العرض
60